Specified Requirements of DIN EN 1247 Concerning Gear Unit Testing
BY OLIVER VON COLSON, SCHWERTE
The industrial standard DIN EN 1247 has been a binding, so-called C-standard, especially for pouring ladles, which means that it also contains specified safety requirements for the production as well as the use of various pouring ladles. Gear units always get special attention here, because they are a driving unit that must also offer a high degree of tilting stability.
Gear units are always exposed to extreme stresses, so their construction, manufacturing, maintenance and repair require special attention.
The current version of DIN EN 1247, as of 12/2010, contains significant changes and additions where safety considerations for gear units are concerned.
Most pouring ladles are equipped with gear units. A handwheel, air or electric motor is used to tilt the tank by reducing the gear. For safety reasons gear units must therefore be equipped with a brake spring, for example, that guarantees a dynamic self-locking, which is an important requirement. This is accomplished when the drive is stopped immediately or after a short time, even if there is still a torque applied on the output side. Contrary to some opinions the brake units serve as locks – through friction in rotation and pouring from the ladles as well as from a stationary position.
The current DIN EN 1247 now calls for regular tests of the output and brake torques of pouring ladles with gear units, to ensure a dynamic self-locking. The standard practice has been to tilt the pouring unit slowly after the ladle has been emptied. If the hanger was stable while inclined, the brake torque was considered to be ok. If the hanger moved further on its own, it had to be replaced. It was assumed erroneously that the tilted pouring unit requires a similar brake torque as a filled ladle during operation. State-of-the-art practice should be to disassemble the gear unit at least every 2 years. The output and brake torques have to be checked on a test stand, and the examination data have to be documented.
What is the standard practice in companies where gear unit tests are concerned?
The company Leroy Somer Marbaise GmbH from Frankfurt am Main that has produced gear units for pouring ladles since 1968 has found over the past years that this state-of-the-art technology has not been applied sufficiently. If gear units are tested at all, this happens only on a very irregular basis, and safety-relevant components are exchanged rarely or not at all. Testing of the output torque and brake torque of ladles as required by DIN EN 1247 has only been performed by special companies, such as Foundry Service GmbH from Hemer, where a gear unit test stand has been used for that purpose since the year 2004. The companies that operate pouring ladles often fear the expenses they might occur or they simply don't know if they really need to have their ladles tested because of legal regulations.

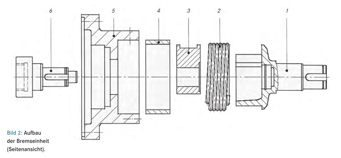
(1) Carrier shaft
(2) Brake spring
(3) Decelerator
(4) Brake ring
(5) Brake housing
(6) Gear unit drive shaft
What are the safety-relevant components of a gear unit?
Modern pouring ladle gear units are supplied with a so-called brake spring. The unit called brake system in the trade should be called a load torque lock with a brake spring, which is the technical term. This unit consists of several components. It serves to keep a tilted pouring ladle in its position, to prevent its being tilted further in an uncontrolled way where it might discharge molten material.
The brake spring (fig. 1 and 2) “2” of this unit is located with a preload in the brake ring “4" that is firmly seated in the brake housing “5". Both ends of the spring have been bent inward. When a torque is applied at the driving end, the carrier shaft “1” loosens the brake spring. The bent end of the spring then transfers the torque to the decelerator "3" that is connected positively with the drive shaft of the gear unit "6" through a fitting key connection. When a back torque is applied to the lock, the decelerator increases the friction between the brake spring and the brake ring. The torque is given off to the environment via the brake housing. The symmetrical construction of the lock guarantees the transfer or lock of torques in both directions.
The brake ring and the brake spring deserve some special consideration. The quality and stability of the brake ring is crucial for the durability and it has significant effect on the brake performance. The brake ring that is made of heat-treated steel is manufactured in a complex treatment process. It has to undergo numerous turning and grinding processes because it has to have precise measurements of 1/100mm.
The brake spring is made of high performance spring steel. It is normally manufactured by handmade special production. Each brake spring is tested for its spring tension with a special test equipment. The dimensional precision of the brake spring is in the 1/10mm range. This is necessary to keep the tolerance range for the exchange between the decelerator and the brake spring in the 1/10mm range as well. This is the only way to guarantee a 100% braking efficiency of the unit.
What is a meaningful way to test pouring ladle gear units?
Testing a pouring ladle gear unit on a test stand comprises tests of the brake unit and the load torque lock to make sure that the pouring ladle does not revolve on its own, so it can only be tilted when the appropriate force is applied.
To measure the drive output of a gear unit, the unit is installed in the test stand. A torque is applied through the application of force, using an electric motor. Appropriate measuring devices are used to calculate output torques.
A test stand cannot be used, however to define the brake efficiency as a torque value of Nm. To put it simply, a fixed weight is fastened onto the driven shaft, to see if the gear unit does not move on the output end. This is the only way to make sure that the brake unit is still fully functional, because only the locking function can be tested.
When excessive torques are applied on the output end, such as hydraulic torques, permanent deformations of the brake spring or other components of the brake unit may occur. Then the brake efficiency during operation will be reduced substantially or not function at all. This is a case where an experienced gear unit specialist or a specialized company for pouring ladle technology should be consulted.
Consequencs of faulty or missing tests
The company Leroy Somer Marbaise GmbH and the company Foundry Service GmbH as manufacturers perform gear unit tests themselves and they frequently observe that fatal consequences of faulty or missing tests.
In particular, the following effects may be expected:
Decreased brake efficiency trough increased wear and tear (deformation of the brake unit because of the faulty test process)
Sudden failure of the brake performance because of defective materials or faulty manufacture (wrong hardness degree of the brake ring)
Risk of breaking because of increased wear and tear or deformation of components These effects mean that the legally prescribed tests that should be performed every 2 years are no longer sufficient for the operators or pouring ladles.
This basic test method applies to all gear unit types listed below:
Eccentric oil bath gears:
> Type SG 179
> Type SG 180
> Type SG 181
> Type SG 182
> Type SG 183
> Type SG 914
> Type SG 978
> Type SG 1017
Planetary oil bath gears:
> Type PG 323
> Type PG 324
> Type PG 325
> Type PG 326
> Type RSD 60
> Type RSD 80
> Type RSD 110
> Type RSD 140
> Type RSD 180
> Type PL 05 mb 53
> Type PL 10 mb 53
> Type PL 16 mb 53
> Type PL 63 mb 144
> Type PL 100 mb 224
> Type RS 23
> Type RS 24
> Type RS 25
Conclusion
Basically it can be said that gear units need to be tested regularly. For that purpose the gear unit is disassembled and taken apart, so the wear and tear and the materials can be checked. Besides, the gear unit is examined on a gear unit test stand. For those tests the required testing processes and procedures need to be observed.
The old stock of pouring ladle gear units (manufactured before 1995, when the EC machines directive was introduced) falls under the state-of-the-art technology, too. Those gear units should also be tested, using the experience of expert companies and the existing testing procedures, to check their functionality and safety.
Operators of pouring ladles with mounted gear units should follow the advice to carefully check the test reports of the test companies and to question the test procedures listed in those reports, so they can be sure that their pouring ladle gear units are really safe. <link http: www.foundry-service.de>www.foundry-service.de